Apple patents 'desk-free computer,' but you'll still need a place for your keyboard and mouse
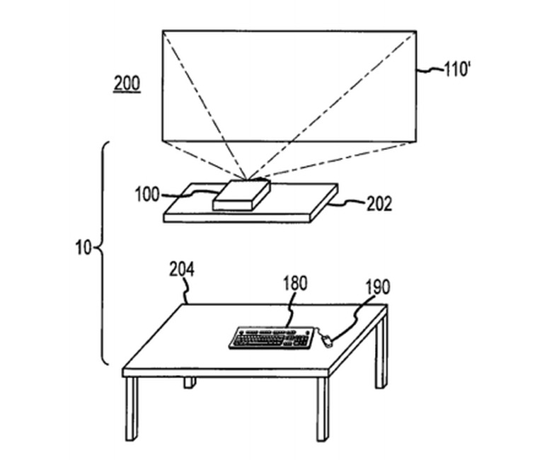
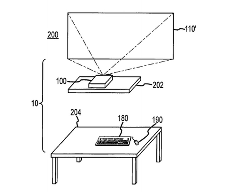
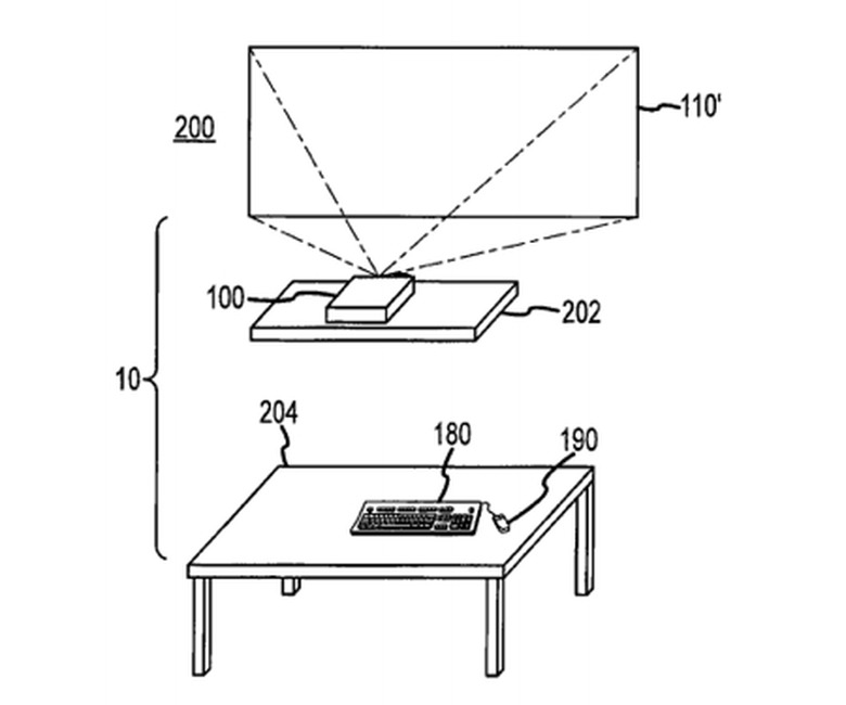
Today, Apple was awarded a patent for what the company calls a "desk-free computer," which was filed way back in late 2008. The strange patent describes a desktop computer — which looks a good bit like a Mac mini in the patent drawings — that includes a built-in projector that replaces your traditional monitor. The computer is wireless, aside from the power cord, which lets the user place it somewhere other than a desk.
Of course, in order to use it as you normally would, you'd still need somewhere for your keyboard, mouse or other accessories to lie, so... yeah, you'd probably still need a desk after all.
For those that use a computer-to-projector setup, such as in a business setting or school, it seems like a pretty nifty alternative. Though, as we all know, the fact that Apple filed a patent for it doesn't mean we'll ever see it actually turn into a retail product.
[via AppleInsider]
