Microsoft wearable rumors suggest more fitness tracker, less smartwatch

You may want to dial back your expectations for Microsoft's oft-rumored smartwatch. According to sources speaking to the historically well-informed Paul Thurrott, the wearable isn't intended as a watch — it's a Gear Fit-style health tracker that happens to deliver phone notifications and timekeeping. The tipsters also back earlier rumors, suggesting that there will be a host of fitness sensors along with support for Android, iOS and (naturally) Windows Phone.

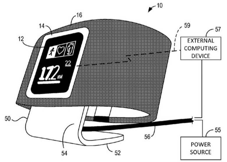
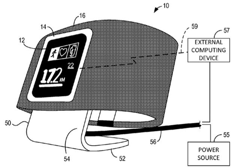
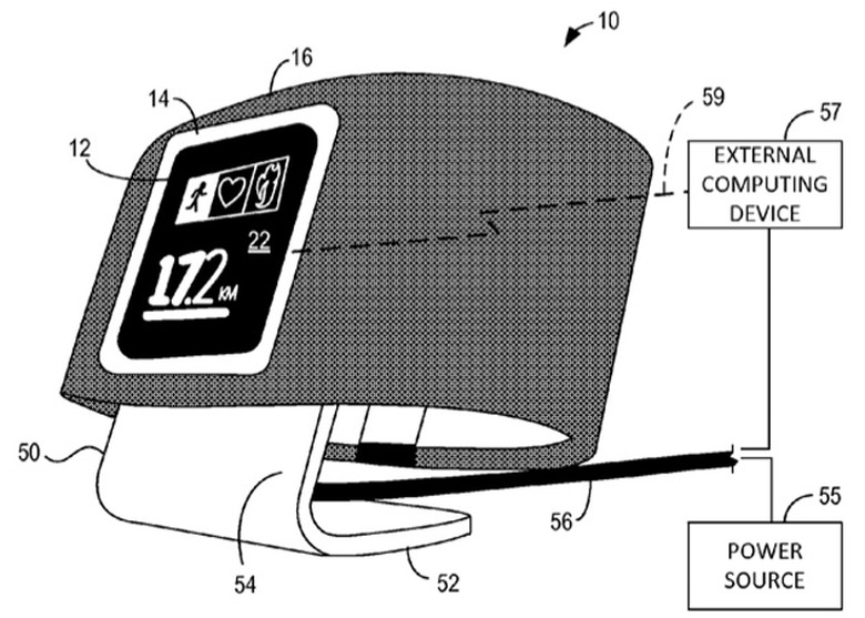
We may have already received a glimpse of what the device looks like, too. A trio of recently published Microsoft patent applications (including the one pictured here) have discussed wearable interface concepts that let you track runs, navigate and send text messages. One patent even shows a vertical charging dock, suggesting that the crew in Redmond has sweated all the little details. There's no guarantee that these elements will show up in any finished product, let alone a gadget expected late this year, but they at least provide a good look at the company's thinking.

Recommended