Airbus' detachable cabin concept could save you time at the airport

Airbus' aircraft pods would save you from waiting forever at the gate to get moving.

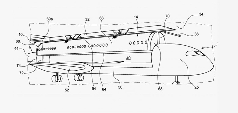
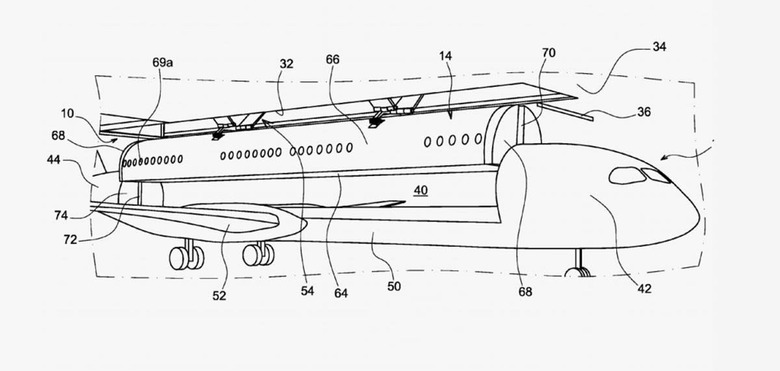
There are probably plenty of things that frustrate you about air travel, but waiting to take off or disembark is probably high on your list. Why should you have to board well before the plane is ready to get moving? Airbus might have a way to cut that idle time to near zero, though: it recently received a patent for a detachable passenger cabin that would lift into the airport gate. Your aircraft would only show up when it's actually ready to go, and would spend far less time on the ground as a whole (as it's just swapping cabin pods). It could also eliminate the convoluted boarding process, since you could take your seat right away instead of forming a queue in the terminal.

You can probably guess the main obstacle to making this a reality: getting other companies to play along. Airbus' concept would require both airports and rival aircraft makers to change virtually all of their designs, or at least double their work to support both these cabins and the conventional kind. It's another one of Airbus' extravagant ideas, then. With that said, it's not far-fetched to imagine this coming in handy for future forms of transportation, especially hypersonic flights where even a 10-minute wait could feel like an eternity.

Recommended