Apple awarded iTime wristwatch patent
We don't typically publish Apple patent stories since, well, Apple tends to patent everything under the sun. But with the evidence mounting that Apple is working on a wearable device slated for release later this year, a newly discovered patent detailing an "iTime" smartwatch is worth highlighting.
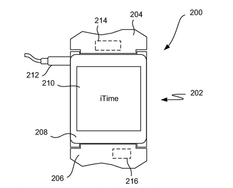
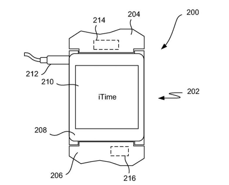
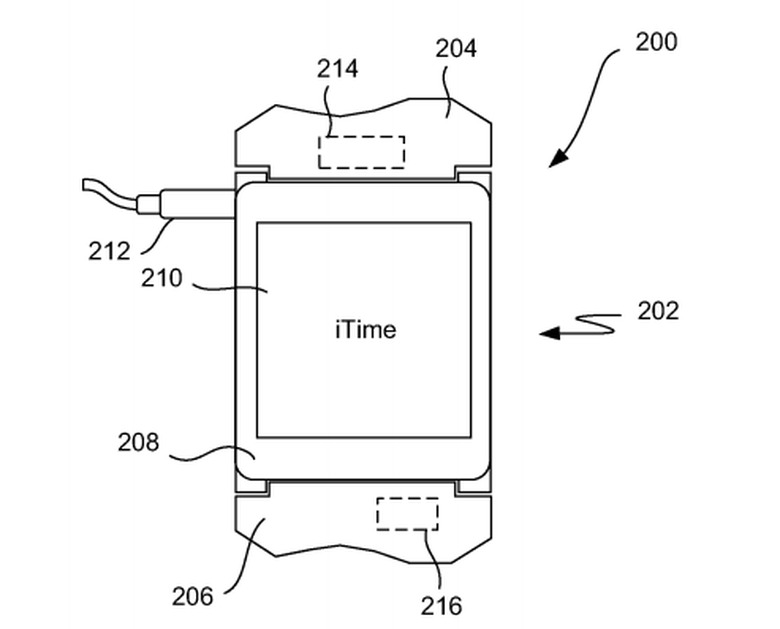
Originally discovered by AppleInsider, Apple's iTime patent details a "wrist-worn electronic device" with its own touchscreen display and the ability to communication with other mobile electronic devices.
The patent description reads in part:
One information exchange facilitated by the personal wireless environment is a notification (or alert) that is initiated by one electronic device to a nearby electronic wristband. In one implementation, the electronic wristband can receive a notification request from another nearby electronic device, such as the mobile phone. Typically, a user would be carrying or wearing the electronic wristband and the mobile phone. The notification request can be received (via wire or wirelessly) at he electronic wristband and can cause the electronic wristband to notify the user. In general, the notification request can be considered a push notification from another electronic device to the electronic wristband. As one example, the notification request can cause the electronic wristband to activate haptic device, an audio device/and or a display device for the electronic wristband to signal the user of the notification.
The description goes on to explain that once a notification is received, a user can select controls which enable him/her to "view additional information pertaining to the notification." One such example would allow users to accept or decline an incoming call via the wrist-worn device.
Some of the device's features include media storage and playback, GPS, an accelerometer, and a wireless communication transceiver built into the band itself.
The entire patent application, complete with feature descriptions and artist illustrations of the device can be found over here via the USPTO website.

