Sony files patent for 'Powerglove'-like controller
The device could use the same tech as the PS3's Move motion controller.
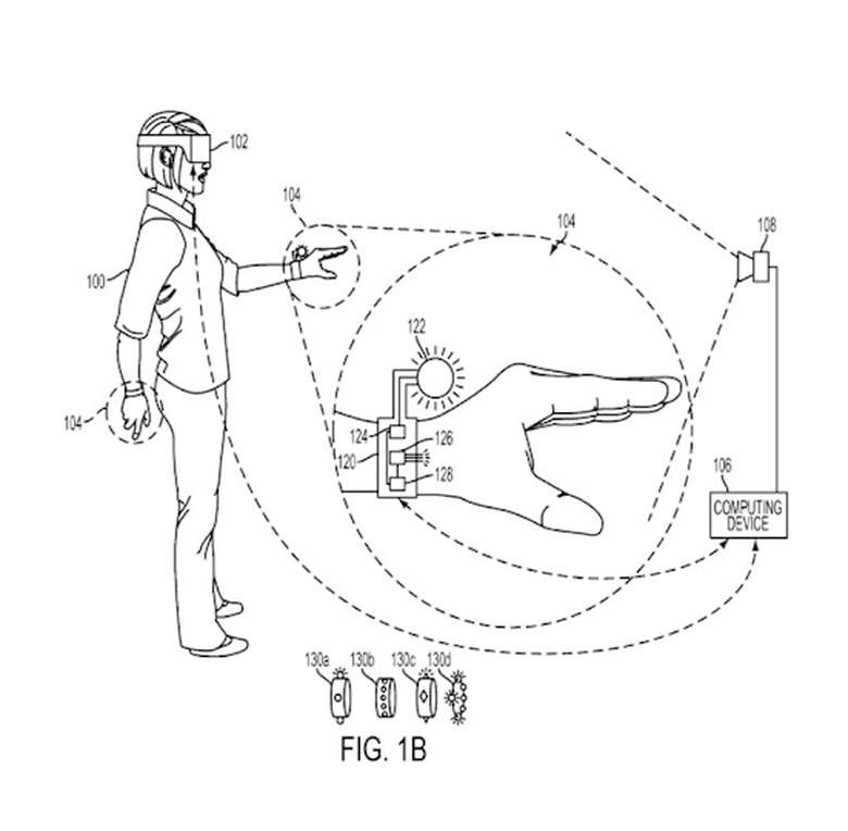
Sony has reportedly filed a trio of patents for a new glove-based controller system. NeoGAF user Rösti came across the filings. The system centers around a finger-tracking flex sensor, a separate contact sensor that registers when the user touches a physical object and a communications module that sends this data to a VR headset where it is incorporated into the simulated experience.
The filing describes the system as "a trackable object that is configured to be illuminated during interactivity" with "at least one inertial sensor for generating inertial sensor data" which sounds a lot like a more dextrous iteration of the PS3's Move motion controller. With it "users collaborating may use their gloves to touch objects, move objects, interface with surfaces, press on objects, squeeze objects, toss objects, make gesture actions or motions, or the like," the claim said of this emergent tech," the filing states.
Now, as always, just because a company files a patent for an idea doesn't mean that it will ever actually become a real thing. However, given the current levels of rabid interest in VR technology from both industry and consumers — not to mention Sony's imminent release of the PSVR — this idea doesn't sound all that far fetched.

