The Morning After: Weekend Edition
Sega Forever, Galaxy Note 8 always.
Hey, good morning! You look fabulous.
Welcome to the weekend. We have Galaxy Note 8 rumors, and information about an Amazon beehive — we'll explain.
Wallet-busting Galaxy Note 8 expected to launch in September
After an unfortunate end to the Galaxy Note 7 saga, Samsung is apparently ready to pick up where it left off. A rumor from VentureBeat suggests that the next Note will launch in September, and despite rocking a slightly smaller battery for obvious reasons, will be the most expensive one yet at around $900 unlocked. For that price, you should expect its trademark stylus, plus 6GB of RAM and, in a first for Samsung, a dual-lens 12MP rear camera.
Surprise! OnePlus is back with another phone that matches mostly high-end specs and design with an affordable price tag. The OnePlus is blazingly fast, with a good dual camera and solid battery life. Ultimately, despite some compromises, it's still an excellent value.
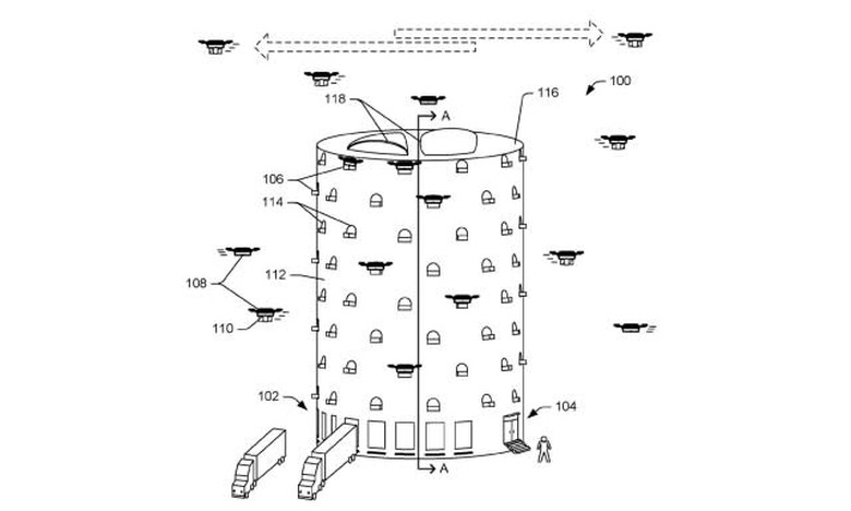
Amazon dreams of putting a giant drone beehive in your city
We don't know if it will happen, but Amazon has patented its concept for a warehouse that services drones as well as trucks. It manages to pull double duty with a beehive-style cylindrical tower that could spit quadcopters in any direction. It's just an idea, but remember who told you first when one is going up on top of your local Whole Foods.
Tesla driver in fatal Autopilot crash ignored safety warnings
This week the NTSB released its report on a crash involving the use of Tesla's AutoPilot feature. While it debunked reports that the driver may have been watching a movie at the time of the accident, it indicated that he might have only had his hands on the wheel for 37 seconds of the 25-minute trip, ignoring the system's warnings. The NTSB's next step will be to report the probable cause of the accident and make recommendations to prevent similar ones in the future.
Report: Obama authorized a secret cyber operation against Russia
Late last year the Obama Administration publicly sanctioned Russia in response to cyber attacks on the US election system. Secretly, according to a new report by the Washington Post, it also authorized a new kind of cyber operation in response, placing in critical Russian networks that could later be triggered remotely.
Scientists may have solved a key barrier to fusion power
A new article published in Physical Review Letters details how to solve a dangerous issue with runaway electrons that has, until now, posed a major problem for fusion reactors. The team discovered that it's possible to decelerate electrons by injecting heavy ions, like neon or argon, into the fusion reactor. The electrons collide with these neutral atoms, resulting in energy loss and slower speeds.
But wait, there's more...
- 'Modern Warfare Remastered' heads to PS4 without the bundle
- Good riddance to SIM cards, it's time to embrace the eSIM
- Caltech's 'lensless' camera could make your iPhone flat
- Sega Forever makes Genesis classics free on mobile
- Imagination puts itself up for sale after being dumped by Apple
- Our favorite games of E3 2017
The Morning After is a new daily newsletter from Engadget designed to help you fight off FOMO. Who knows what you'll miss if you don't subscribe.




